Versione italiana o inglese della scheda 

 
4424T - TASTATORI RAPIDI PER ESTERNI - Orig. MIB4424T - TASTATORI RAPIDI PER ESTERNI - Orig. MIB

Salva foto in alta risoluzione

   

 Stampa la scheda
 Invia la scheda

 Apri la pagina del catalogo
 Vai ai prodotti di pag.

Prodotto precedente Prodotto precedente
Prodotto successivo Prodotto successivo

4424T  

Orig. MIB

 

TASTATORI RAPIDI PER ESTERNI

dial caliper gauge for outside measurements

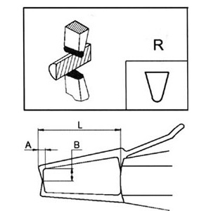
Tipo a quadrante per misurare rapidamente fori, scanalature esterne ecc.
Precisione ±0,02 di mm, lettura 1/100 di mm. Misura mm 0-10 con punte arrotondate R 0,5.
Misura mm 0-20/10-30/20-40/30-50 con punte arrotondate R 0,75.
In cofanetto.

 Aggiungi al carrello  

NoteCod. Art.Cad.Cod. Prod.Capacità misura
mm
Profondità misura L
mm
Misura A punta
mm
Misura B punta
mm
GiacenzaPeso ArtQTAMIN
4424T 0 10€ 307,00010271110-10403820,70
4424T 0 20€ 380,00010271120-20806,52530,780
4424T 10 30€ 380,000102711310-30806,52530,860
4424T 20 40€ 380,000102711420-40806,52510,810
4424T 30 50€ 380,000102711530-50806,52520,810
 

News